Jump to content

Passat B6 Cu Motor Diesel 2.0 Tdi Cr (common-rail)


c_liviu
 Share

Postare recomandată

Salut.Am achizitionat de curand( trebuie sa ajunga din Germania saptamana viitoare) un Passat B6 an fabricatie 2010 luna 09 cod motor CBBB 170 CP.Intrebarea mea este sunt probleme la axul pompei de ulei?Ma sfatuiti sa verific axul cand schimb uleiul?Multumesc!!!

Link către comentariu
Distribuie pe alte siteuri

2010 nu are problema axului de la pompa de ulei

Link către comentariu
Distribuie pe alte siteuri

Multumesc EEXCALADE.Alte verificari ce imi recomanzi sa ii fac la primire? In afara de distributie ulei si filtre, placute etc?

Link către comentariu
Distribuie pe alte siteuri

Verifica prezenta spanului la valva de pe pompa

Link către comentariu
Distribuie pe alte siteuri

  • 6 months later...
Stefanescu Laurentiu

Salut,

@EEXCALADE poate poti sa ma lamuresti si pe mine, ca am cautat si citit 100 de forumuri si nu gasesc mai nimic nici despre motor nici despre ax

Masina in cauza este o Jetta Fabricata in 28.10.2009 - cod motor CBDA ( am inteles ca este varianta de belgia si are 136 CP) VIN WVWZZZ1KZAM053540

Ma poti scoate din ceata? mentionez ca am cumparat masina de vreo saptamana

Masina in actele de belgia este EURO 4 dar codul de motor este de euro 5 nu mai inteleg nimic

Multumesc anticipat

Link către comentariu
Distribuie pe alte siteuri

Stefanescu Laurentiu

@EEXCALADE 

Ok, multumesc.

Dar in legatura cu pompa de ulei?Imi poti spune daca are probleme cu axul?

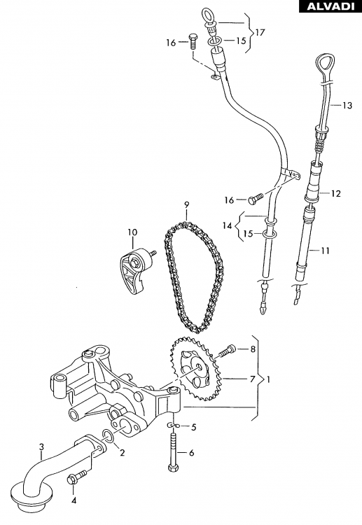
Eu am cautat pe un site de piese si am gasit pentru codul VIN urmatoarea pompa  038115105c si vad ca este pe pinion.Voi avea probleme cu axul?

Multumesc anticipat!

asd.png

Link către comentariu
Distribuie pe alte siteuri

Din 14.11.2009 au rezolvat problema .

 

 

Modificat de EEXCALADE
Link către comentariu
Distribuie pe alte siteuri

Stefanescu Laurentiu

@EEXCALADE 

Tot nu sunt lamurit...a mea fiind din 28.10.2009 ar avea probele nu? dar pompa fiind pe pinioane indica ca nu ar avea.

Pe o pagina anterioara a acestui topic ai scris ca motoarele cod CBDA nu ar avea probleme cu pompa

Modificat de Stefanescu Laurentiu
Completare afrimatie
Link către comentariu
Distribuie pe alte siteuri

  • 2 weeks later...

Salut, dar Cbbb(produs in 11.2009) are probleme cu pompa de ulei?

Link către comentariu
Distribuie pe alte siteuri

  • 4 weeks later...

Am o problemă cu un b6 cu motor cbab.Mi sa aprins in bord becul chec la motor.am pus testerul pe ea și mi-a dat senzor temperatura evacuare gaze.am schimbat senzorul și după câteva zile sa aprins  din nou.care sa fie cauza.va multumesc 

Link către comentariu
Distribuie pe alte siteuri

Ce eroare a avut si ce eroare are acum ?

Posteaza date concrete ca pe banuite nu te putem ajuta

Link către comentariu
Distribuie pe alte siteuri

Check engine.dupa diagnoza a dat senzor temperatura evacuare gaze,l-am schimbat si după câteva zile sa aprins din nou. După încă o diagnoza tot același senzor temperatura evacuare. Am ajuns la electrician  și acum îmi spune că e din calculator. E posibil asa ceva.Masina porneste impecabil trage de rupe dar nu stiu ce a cu becul asta. 

Modificat de Manuel N.
Atentie la quote! Se sanctioneaza! Citeste regulamentul!
Link către comentariu
Distribuie pe alte siteuri

Cauta pe cineva priceput ,macar la diagnoze. Acolo sa terminat meseria si cel mai probabil sa inlocuit alt senzor ,nu cel defect.

Link către comentariu
Distribuie pe alte siteuri

  • 6 months later...

cod motor bls 9/2008 are probleme cu axul?ce motor e 1 .9 tdi bls cr sau pd?

Link către comentariu
Distribuie pe alte siteuri

BLS este PD (majoritatea cu DPF). Nu are probleme cu pompa de ulei .

Link către comentariu
Distribuie pe alte siteuri

  • 2 weeks later...

Salutare colegi, azi cand am dat baia de ulei jos ca sa schimb axul de la pompa am gasit astea prinse in sorbul de ulei. Băiatul care mi-a schimbat axul a zis ca  ar fi ungerea de la cilindru, "gâscani" a zis el, si ca ar unge axul de la biela si cilindrul.
Cei care au umblat la motor (segmentat, etc..) ma poate ajuta cu un sfat? Se poate monta altele, avand in vedere ca la capete se vad clar sunt rupte de undeva? Sau se mai poate merge asa?
Masina e passat b6 ,cbbb, 170cp, 2009, 270196km

IMG-20200507-WA0006_copy_800x600.jpg

IMG-20200507-WA0003_copy_800x1066.jpg

IMG-20200507-WA0005_copy_800x1066.jpg

IMG-20200507-WA0004_copy_800x600.jpg

Link către comentariu
Distribuie pe alte siteuri

Comanzi noi dupa seria de sasiu, se livreaza inclusiv cu surub.

Link către comentariu
Distribuie pe alte siteuri

Se gasesc noi? Cum se numesc? Sau cum sa caut mai exact? 

Te rog spune-mi si cum trebuie facut daca sti, trebuie demontat tot moturul sau se poate pe jos, daca scot pompa de ulei. Sunt disperat

Modificat de RLine 2009
Link către comentariu
Distribuie pe alte siteuri

Se numeste duza ulei pentru racire/ungere fusta piston si la motorul tau are codul 038 103 157 B. Normal ar trebui sa se poate schimba prin partea de jos a motorului, dupa ce se da jos ansamblul pompa de ulei + arbori de balasare, dar nu sunt sigur. 

Si daca vrei sa stii ce fac gascanii aia: 

 

Modificat de adrian001
Link către comentariu
Distribuie pe alte siteuri

Multumesc mult colegule, sa-ti dea d-zeu sanatate! 

Le-oi gasi la noi s-au  de pe afara? 

Si cel mai important de ce s-or fi rupt toate 3? Imi e ca le schimb si se rup iara si nu am facut nimic.. 

Modificat de RLine 2009
Link către comentariu
Distribuie pe alte siteuri

Pai in totul sunt patru, deci tragem concluzia ca unul e posibil sa fie intreg sau pe punct de rupere. Nu am idee de ce s-au rupt, dar poti sa inspectezi zona si duzele vizual cand le dai jos in ideea de a identifica cauza. La noi ar trebui sa le gasesti la reprezentanta, dar stiind ce preturi practica VW, nu cred ca o sa fie prea ieftine. 

Link către comentariu
Distribuie pe alte siteuri

Pentru a adăuga comentarii este necesară înregistrarea sau autentificarea

Trebuie să aveţi un cont de membru pentru a adăuga comentarii

Înregistrare membru

Înscrierea unui nou cont de membru. Este foarte uşor!

Înregistrare cont nou

Autentificare

Aveţi deja un cont de membru? Conectaţi-vă aici.

Autentificare în cont
 Share

  • Activi pe această pagină   0 membri

    • Niciun utilizator înregistrat nu vizualizează această pagină acum.
×
×
  • Create New...

 Functionarea acestui site este sustinuta de cele cateva bannere afisate intre posturi. Ar fi o placere pentru noi daca ar fi adaugat site-ul nostru in lista de exceptii ad-block in browserul tau. Promitem si veti vedea ca nu avem reclame intruzive si nici deranjante (nimic cu sunet,video sau all-screen). Multumim!