Jump to content

Nu trage motorul !


Memphis
 Share

Postare recomandată

Revin cu o scanare dupa ce am schimbat siguranta 34.
Am scapat de martorul de ESP si martorul de bujii ! 
Acum am urmatoarele erori pe care am sa le postez in ordine (precizez ca de fiecare data am incercat sa le sterg)

20210628_133005.jpg

20210628_133150.jpg

20210628_135058.jpg

Link către comentariu
Distribuie pe alte siteuri

Sunt pe punctul de a comanda un ECU, pentru ca nu vad ce altceva ar putea sa aiba. As aprecia foarte mult daca cineva ar confirma ca toate aceste erori se aduna in jurul ECU-lui. Nu este posibil ca unele erori sa apara si sa dispara fara sa ating componentele respective care apar cu eroare.

Am mai observat urmatoarele : N239 inchide clapeta de admisie la punerea contactului si am observat ca este fierbinte, la fel si N18 care si el este fierbinte. N75 este rece. Mentionez ca nu am circulat cu masina, ci am tinut-o pornita un minut sau doua cu mufa de la N239 scoasa (altfel nu porneste) 

Asa cum am spus, am hotarat sa cumpar un ECU cu seriile identice ca al meu. Pun aici un link in speranta ca cineva care are cunostintele necesare sa imi zica daca este OK 

https://www.ebay.fr/itm/153679307558?_trkparms=aid%3D111001%26algo%3DREC.SEED%26ao%3D1%26asc%3D20160908105057%26meid%3Dd2cd0a699c3d428c88bdfd4031f47d21%26pid%3D100675%26rk%3D8%26rkt%3D15%26sd%3D265188206642%26itm%3D153679307558%26pmt%3D1%26noa%3D1%26pg%3D2380057&_trksid=p2380057.c100675.m4236&_trkparms=pageci%3Ae434e1c5-d80c-11eb-ac48-ce75d03a5a2f|parentrq%3A529b416e17a0a4f149c54b36ffef79c2|iid%3A1

 

Link către comentariu
Distribuie pe alte siteuri

Ce culori au firele din mufa de la N239?

 

Link către comentariu
Distribuie pe alte siteuri

Salut Al Bundy, mov/gri si galben/negru

Link către comentariu
Distribuie pe alte siteuri

DA, aia e mufa. ma gandeam sa nu fie bagata acolo o mufa de la alta electrovalva.

Link către comentariu
Distribuie pe alte siteuri

Salut ! 
Am comandat un ECU cu IMMO OFF si ajunge maine. 
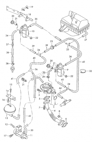
Inainte de a il monta, si in caz ca problemele nu se vor rezolva, pentru a evita de a da vina pe ECU, am niste nelamuriri in legatura cu circuitul de vacuum. Masina cand am cumparat-o mergea foarte bine cu circuitul de vacuum respectiv (poza cu electrovalvele pe jos). Cand au aparut problemele, printre care si N239 care practic lucreaza invers, si deoarece furtunele erau cam praf am procedat la schimbarea grupului de electrovalve cu unele tot de motor ATD si tot din acelasi an de fabricatie. Acestea au fost demontate intact, fara a atinge legaturile la electrovalve. Au fost scoase doar furtunele : 1 de la actuatorul de turbo, 2 de la EGR, 3 de la vacuum, 4 de la rezervorul de aer si 5 filtrul de aer (exclus incurcarea lor deoarece fiecare vine la locul lui). Dupa ce le-am schimbat, bineinteles ca problemele au ramas aceleasi.
Ce nelamurire am eu : la electrovalvele vechi N75 era in partea stanga (vezi poza) si totusi masina mergea bine asa, ori eu stiu ca ar trebui sa se afle in partea dreapta chiar daca la unele tdi-uri electrovalvele sunt cu susul in jos dar N75 cu caciulita alba tot in dreapta este. Am cautat pe net o diagrama cu circuitul de vacuum si am intrat in ceata de tot pentru ca am o poza cu circuitul clasic TDI si una cu un circuit luat de pe 7zap.com unde arata o diagrama care este dedicata motorului ATD, o alta diagrama pentru motoarele AHF, ALH si ASV, si o alta pentru ARL si ASZ. Recunosc ca nu mi-am batut capul pentru ca ma doare deja sa vad diferentele intre ele dar cred ca este o diferenta, ca de nu acelasi circuit era valabil pentru toate si toate codurile de motor erau enumerate la un loc. 

Intrebarea mea este : Care circuit de vacuum (diagrama) este valabil pentru codul meu de motor ATD ? 

Atasez cateva poze : 1 cu electrovalvele si circuitul vechi, 2 cu ce am pe masina acum, 3 diagrama color clasica TDI si o diagrama stil desen tehnic care mi-o da pentru ATD din 2003 (cazul meu) 

Sper ca m-am facut inteles, va multumesc ! Seara buna. 

 

210674225_335642681293896_8456642032215665834_n.jpg

212688594_921042795142271_8845701268081694621_n.jpg

n75-egr-n18-n239-actuator-turbo-schema-legaturilor-diagrama-valva-senzorturbo-tdi-vw-passat.jpg

194131250.png

Modificat de Bica_Lucian
Link către comentariu
Distribuie pe alte siteuri

Confirm faptul ca N18 era pe post de N75 si se vede in poza furtunul de cauciuc care iese din N18 si merge catre turbo (eu l-am demontat) si am zis "uite ce prost", si totusi masina mergea ! 
Ca sa fac putina lumina si pentru a ne intelege mai bine, mentionez faptul ca masina o am de foarte putin timp, masina s-a vazut ca a fost statuta, nu a circulat cu ea cred ca luni bune dupa cum arata. Toate problemele astea au aparut la 2 zile dupa ce am cumparat-o si am descoperit problema asta cu circuitul de vacuum verificand pe acolo furtune, cablaj etc.. Probabil or mai fi si altele, dar inca nu le-am gasit. Inafara de asta masina este inchegata si merge foarte bine (atunci cand merge) 

Link către comentariu
Distribuie pe alte siteuri

Problema rezolvata, am schimbat ECU si toate au revenit la normal ! Toate erorile s-au sters ca prin minune si cat mi-am batut capul.. 
Va multumesc tuturor celor care mi-au raspuns si m-au ajutat 

Link către comentariu
Distribuie pe alte siteuri

  • 4 months later...
VolkswagenManagement

Salut, alte masini merg in modul sport ,in modul confort, a mea doar in Limp mode alege sa mearga.

Vw bora 1.9tdi ajm116cp,  problema e ca nu mai vrea sa treaca de 120km/h turatia urca greu..

Pe tester imi da charge pressure control negative deviation .

Am schimbat tot ce tine de furtun de vacuum, electrovalvele, curatat turbina (actuator/geometrie) ,egr, cu vreo 3-4 luni in urma si masina a "zburat" nu altceva.. acum a revenit la obiceiurile de cand am cumparat-o. Doar in limp mode ii place,nu mai stiu ce sa ii fac.

 

Vitezele le schimb la turatii de 2500-3000 cand se tura mergeam cu ea si pana in 3500+. 

Si inca ceva la deal mai ales simteam o pierdere de putere si dupa nu isi revenea pana nu opream masina si i porneam iar. Dar acum nu mai merge de niciun fel

 

Ce sa ii mai fac,un sfat?

Link către comentariu
Distribuie pe alte siteuri

Salutare...

Verifica sa nu ai ceva sarit/spart.

Verifica traseul/tubulatura Turbo-Intercooler-EGR...

De cele mai multe ori negative deviation apare cand aerul furnizat de turbo nu ajunge tot in motor...

Abia dupa ce ai siguranta ca ai un traseu etans incepi sa vezi de ce turbo nu face presiunea ceruta. 

Link către comentariu
Distribuie pe alte siteuri

  • 2 months later...

Golf 4 Alh accelereaza greu (max 110km/h) si nu franeaza corespunzator (pedala tare, franeaza ingreunat).

Simptomele au aparut dupa o depasire cu 140km/h in viteza 5 la 10km de la schimbarea senzorului temperatura lichid racire.

Care sa fie cauza?

Modificat de Borcanel
Incomplete information.
Link către comentariu
Distribuie pe alte siteuri

Pt frana verifica racordul dintre servo-frana si galeria de admisie, fie sa spart furtunul sau a iesit si motorul trage aer fals pe acolo ori sa bulid supapa aia unisens sau poate chiar sa spart membrana din servo-frana.

Link către comentariu
Distribuie pe alte siteuri

Verifica toate furtunasele de vacuum începând de la pompa de vacuum (la diesel nu se folosește vacuumul din galeria de admisie pentru că este prea mic si are pompa separată pentru asta). Aceeași sursă de vacuum este folosită pentru pompa de frana si pentru comanda geometriei turbinei si a egr si daca sunt pierderi importante de vacum pe lângă faptul că ai pedala de frana tare nu se mai corectează presiunea turbinei în funcție de sarcina. 

Dacă ai avea un vcds la îndemână cu cateva loguri te poți lămuri mai bine.

Link către comentariu
Distribuie pe alte siteuri

în urmă cu 9 ore, Borcanel a scris:

Golf 4 Alh accelereaza greu (max 110km/h) si nu franeaza corespunzator (pedala tare, franeaza ingreunat).

Simptomele au aparut dupa o depasire cu 140km/h in viteza 5 la 10km de la schimbarea senzorului temperatura lichid racire.

Care sa fie cauza?

poate sa fie tulumba servo-membrana sparta, sau furtunul de servo spart

Link către comentariu
Distribuie pe alte siteuri

  • 10 months later...
dbdacian@gmail.com

 

Bună am si eu o problema la un golf 4 1.9 TDI cod motor ASZ 131 CP schimbat N75 de la altă masina, verificat continuitate fire din ECU inclusiv inlocuit releu pompa motorina si problema tot apare. Masina merge o perioada apoi ia Limp si dupa repornire merge iarăși o perioada trage bine mergem bine totul pana apare eroarea 

Am citit aici si am ajuns la concluzia ca se poate să fie ECU dar aștept părerile voastre 

 

screenshot_20221227_151604_com_optimized.android.gallery3d.thumb.jpg.3ff140a755bb3169abdbf90b7523a203.jpg

Modificat de dbdacian@gmail.com
Link către comentariu
Distribuie pe alte siteuri

dbdacian@gmail.com
1 minut în urmă, bysus a scris:

Ai masurat daca ai plus 12 v in mufa de la n75? 

Nu am măsurat tensiunea dar dacă fac turbo on si turbo off pe canal BS11 totul funcționează actuatorul trage geometria variabila deci N 75 lucrează dacă nu ar avea tensiune nu ar lucra la BS, si masina rulează si cate 200 km fără probleme doar câteodată intra in Limp mod 

Dar după revelion voi masura să vad dacă am 12v la N75

Link către comentariu
Distribuie pe alte siteuri

Toate acele erori au ceva in comun, un fir care iese dintr-un releu comandat de ECU. Asa este pe schema prezenta in autodata. Sageata neagra este comanda releului iar sagetile rosii sunt acel cablaj care comanda celelalte relee.

asz.jpg

Link către comentariu
Distribuie pe alte siteuri

dbdacian@gmail.com

Si atunci sa verific acel fir comun ce iasa din releu pana la releul de buji incandescente din ce e pe schita ce trece prin sigurante releul acela lam schimbat de pe o alta masina care era ok e releul 109 

Link către comentariu
Distribuie pe alte siteuri

Am o nelămurire: toate erorile apar imediat ce a intrat în limp mode? Este important de ştiut asta. Dacă nu eşti sigur şterge erorile, mergi puţin cu maşina (fără să intre în limp) fă o scanare să vezi dacă a apărut vreo eroare, apoi fă scanare după ce a intrat în limp.

Eu aş mai face nişte loguri (vezi aici https://vwforum.ro/topic/125018-metode-de-diagnoza-pentru-turbina-egr-debitmetru/  ). Ideal ar fi să surprinzi limp-ul în log dar dacă este imprevizibil mă gândesc că este cam imposibil. Asta ca să vedem dacă cauza limp-ului este una din acele erori sau este o problemă de turbină şi este coincidenţă cu erorile.

Deci în primul rând lămurită treaba cu erorile.

Poate să fie şi o problemă de cablaj (fire frecate pe undeva cu izolaţia degradată, lipituri crăpate pe spatele plăcii cu relee, etc), ce a spus colegul @xmisterx mai sus, dar îmi cam dă cu virgulă eroarea de pe electroventilator care nu se alimentează de pe acel circuit. Şi mă mai gândesc că ar trebui să mai apară şi alte erori.

 

 

17 hours ago, dbdacian@gmail.com said:

Am citit aici si am ajuns la concluzia ca se poate să fie ECU dar aștept părerile voastre 

Este plauzibilă dacă toate componentele pe care apar erori sunt ok şi nu sunt probleme de cablaj, dar eu zic să analizam mai bine situaţia după cum am scris mai sus.  

Link către comentariu
Distribuie pe alte siteuri

dbdacian@gmail.com

Am log in mers o sa atașez deseară ca sunt la serviciu voi încerca zilele acestea sa fac scanarea si fără să intre in limp sa vad ce erori apar dar nu am cele 3 buji ce încălzesc antigelul si totuși apare eroarea pe releu sau nu înțeleg eu bine

Link către comentariu
Distribuie pe alte siteuri

4 hours ago, dbdacian@gmail.com said:

dar nu am cele 3 buji ce încălzesc antigelul si totuși apare eroarea pe releu sau nu înțeleg eu bine

Asta este o treabă cam ciudată. Chiar dacă pe schemele electrice apare circuitul celor 3 bujii de încălzire cu releele aferente, totuşi în schema circuitului de răcire la ASZ nu apar aceste bujii (nici la manuală nici la automată) şi nici releele respective nu apar în schema de dispunere a releelor. Putem deduce astfel că sistemul nu este montat pe modelul ăsta. Deci eroarea respctivă nu ar trebui să apară. Ar mai fi posibilitatea ca firul ce pleacă la respectivul releu să fie totuşi prezent în cablaj şi pe undeva să facă scurt cu altul. Vezi dacă mai apare după ştergere.

Logul arată relativ ok, este ceva suprapresiune şi din cauza asta şi Duty cycle stă la valori ceva mai mari, dar destul de departe de un limp din cauza asta. Ca să ia limp Duty cycle N75 trebuie să ia consecutiv vreo 5-6 valori maxime (parcă 94,6%, nu mai ştiu exact, oricum peste 94%.

image.thumb.png.6a6da23d19289f96156499bc55347c6c.png

Hai să vedem prima dată cum stăm cu erorile. Şterge-le, mai uită-te din când în cand dacă reapare vreuna şi să ai laptop-ul la tine să îi faci o scanare imediat ce ia limp.

Link către comentariu
Distribuie pe alte siteuri

dbdacian@gmail.com

Bună tuturor si La mulți ani! 

Am șters erorile si am umblat doar prin oraș zilele astea, dar nu am realizat dacă a luat Limp prin oraș si am scanat si avem asta surpriza mea este ca acum a apărut scurt la plus 

Firele pana la ecu de la N75 le-am sunat si vericate cu bec de control si pareau bune 

Screenshot_20230102_122620_com.android.gallery3d.thumb.jpg.5c80a776d7edd32a46c9c5fcf3164474.jpg

Modificat de dbdacian@gmail.com
Link către comentariu
Distribuie pe alte siteuri

Pentru a adăuga comentarii este necesară înregistrarea sau autentificarea

Trebuie să aveţi un cont de membru pentru a adăuga comentarii

Înregistrare membru

Înscrierea unui nou cont de membru. Este foarte uşor!

Înregistrare cont nou

Autentificare

Aveţi deja un cont de membru? Conectaţi-vă aici.

Autentificare în cont
 Share

  • Activi pe această pagină   0 membri

    • Niciun utilizator înregistrat nu vizualizează această pagină acum.
×
×
  • Create New...

 Functionarea acestui site este sustinuta de cele cateva bannere afisate intre posturi. Ar fi o placere pentru noi daca ar fi adaugat site-ul nostru in lista de exceptii ad-block in browserul tau. Promitem si veti vedea ca nu avem reclame intruzive si nici deranjante (nimic cu sunet,video sau all-screen). Multumim!