Jump to content

Coduri Si Preturi Piese Seat , Audi , Skoda , Vw


Elanul
 Share

Postare recomandată

Salut,

Am si eu nevoie de terminatia de la plafoniera spate de la un Golf VI (sau V)de culoare gri.

Piesa este 3C0947291D, terminatia este cumva Y20 pentru gri?

Link către comentariu
Distribuie pe alte siteuri

  • Replies 5k
  • Created
  • Last Reply

Top Posters In This Topic

  • GABIVVX

    1105

  • Kostas

    155

  • Dolfin

    137

  • iuliu1984

    89

Top Posters In This Topic

Posted Images

..

3C0947291D urmat de Y20 PEARL GREY,95T CORN SILK BEIGE,82V TITANIUM BLACK,7G8 BEIGE,71N ANTHRACITE,28U BROWN LATTE MACCHIATO. Y20 PEARL GREY in jur de 20 euro.

post-64586-0-73516900-1314091746_thumb.g

Link către comentariu
Distribuie pe alte siteuri

imi trebuie anul de fabricatie al masinii tale.

2001

Link către comentariu
Distribuie pe alte siteuri

ai schema cu pedala la postul meu anterior...

Link către comentariu
Distribuie pe alte siteuri

sa fie piesa 8?

oricum bucsa aia de cauciuc scartaie,am uns-o de m-am plictisit...degeaba

Link către comentariu
Distribuie pe alte siteuri

8=1J0721153 sunt 2 bucse mici care costa 1 euro bucata,9=bucsa de baza 1J0721157(transformata,schimbat codul in WHT000671)maxim 2 euro.Daca ai posibilitatea bucsa centrala sa o gresezi.Se desface din surubul numarul 3,dar ai grija sa nu deranjezi ceva acolo.Eventual scoti doar surubul si dau cu vasilina sau ulei pe ele fara sa deranjezi pedala.

Link către comentariu
Distribuie pe alte siteuri

la pretul asta iau bucsele direct,scartaitul e de cauciuc uzat.

Nu ai ce sa deranjezi acolo,toate sunt articulabile .e pedala cu tija si arcul ala,si cel mai important cilindrul de ambreiaj,dar nu are treaba.

Modificat de Hudrea
Link către comentariu
Distribuie pe alte siteuri

ma intereseaza lampa de la parasolar dreapta pentru un passat B6 dar doar plasticul ala transparent . stie cineva are cod separat sau e cu tot ansamblul?

Link către comentariu
Distribuie pe alte siteuri

@ Wug..codurile date de mine sunt aiurea???

Link către comentariu
Distribuie pe alte siteuri

passat 2000-2005,3B0947109 in jur de 8 euro este codul lampei din plafon care vin in dreptul parasolarului.Codul respectiv are ca terminatie in functie de culoarea plafonului;Y20 PEARL GREY,7G8 BEIGE,7H7 SUNSHINE BEIGE.Deci 3B0947109 Y20=pearl grey

post-64586-0-02464400-1314108796_thumb.j

Link către comentariu
Distribuie pe alte siteuri

@OviDU imi cer scuze(codul normal al passatului 2005-2011 este 3C2).Mai sunt confuzii din cauza asta.Codul respectiv este 1K0947109 urmat de terminatiile de mai sus in functie de nuanta plafonului.

untitled.bmp

post-64586-0-95483300-1314341415_thumb.j

Link către comentariu
Distribuie pe alte siteuri

GABI, imi poti spune, te rog, ce piese au aceste coduri:

8E2857131A 6PS

8E2 857 131 26Z

Multumesc

Modificat de blueyed
Link către comentariu
Distribuie pe alte siteuri

8E2 857 131 26Z(interval montaj 2000-2005) piesa nr 6,26z provine de la culoare swing dark grey,in jur de 25 euro pe original.8E2857131A 6PS(interval montaj 2004-2008)sabre black o ai in poza atasata si pretul este asemanator in jur de 25 euro.Daca vrei sa le comanzi verifica bine codul 8E2857131A 6PS,am senzatia ca vine pt echipare pt masini cu volan dreapta uk.

post-64586-0-88606200-1314598827_thumb.j

post-64586-0-65734600-1314598842_thumb.j

Link către comentariu
Distribuie pe alte siteuri

Da, sunt pt masini cu volan pe dreapta dar oricum inseamna ca exista ca piesa de schimb :)

Multam

Link către comentariu
Distribuie pe alte siteuri

  • 2 weeks later...

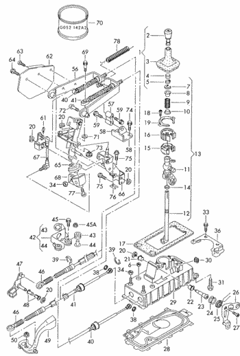
Un cod pentru un short shifter pentru o skoda octavia 1 RS.Mersi mult

Link către comentariu
Distribuie pe alte siteuri

Ce piesa te intereseaza,multi au tendinta sa foloseasca acceasi denumire si la timoneria cv si la levierul schimbatorului de viteze :)

post-64586-0-37302600-1315330287_thumb.g

Link către comentariu
Distribuie pe alte siteuri

Din cate imi dau seama cred ca este vorba de acea piesa de la timonerie(nr.49 din cate vad acolo) si nu de levier. Vazusem ca si exemplu la Forge Motorsports.

Modificat de skorpyon_83
Link către comentariu
Distribuie pe alte siteuri

Nu stiu cu siguranta daca pot gasi asa ceva. Eu vreau un short shifter pentru o micsorare a cursei schimbatorului care sa ma ajute sa schimb mai rapid treptele si sa nu amestec in magiun pana ajung in treapta 4.Stiu ca s-a discutat si pe forum de montarea unui asemenea short shifter dar nu prea am gasit ceva cod pentru octavia1 rs. Mersi mult

Link către comentariu
Distribuie pe alte siteuri

Salut, Am si eu nevoie de codul splitterului de plastic ce iese de la chiulioasa si trimite lichidul de racire in diferite directii - una dintre ele este capatul de sus al radiatorului. Are si o mufa cu un senzor ( cred ca de temperatura lichid) pe el. Arata ca un T numai ca in capatul de sus are 3 ramificatii.

Multumesc

Link către comentariu
Distribuie pe alte siteuri

  • cogdao a închis acest topic
  • Marian a deschis acest topic

Pentru a adăuga comentarii este necesară înregistrarea sau autentificarea

Trebuie să aveţi un cont de membru pentru a adăuga comentarii

Înregistrare membru

Înscrierea unui nou cont de membru. Este foarte uşor!

Înregistrare cont nou

Autentificare

Aveţi deja un cont de membru? Conectaţi-vă aici.

Autentificare în cont
 Share

  • Activi pe această pagină   0 membri

    • Niciun utilizator înregistrat nu vizualizează această pagină acum.
×
×
  • Create New...

 Functionarea acestui site este sustinuta de cele cateva bannere afisate intre posturi. Ar fi o placere pentru noi daca ar fi adaugat site-ul nostru in lista de exceptii ad-block in browserul tau. Promitem si veti vedea ca nu avem reclame intruzive si nici deranjante (nimic cu sunet,video sau all-screen). Multumim!