Jump to content

Pierd antigel


Lucionix
 Share

Postare recomandată

Am si eu niste intrebari. Am observat la masina, urmatoarele simptome:

Dupa ce merg mai tare cu ea o perioada mai mare, pierde antigel pe la supraplin, da afara. De asemenea, ce am mai observat, chiar si dupa cateva ore in care masina a stat cu motorul oprit, tot exista presiune in vasul de expansiune. Daca deschid capacul, se elibereaza presiunea si creste destul de mult nivelul de antigel din vas (chiar si daca masina e rece). Am observat la gatul vasului de antigel niste depuneri, plus o pacla la suprafara antigelului (nu este ulei). Vreo idee de la ce ar putea fi?

LE: La fel, si daca merg mai tare cu ea, insa nu sustinut, creste nivelul antigelului destul de mult, dar nu indeajuns cat sa dea afara. (Conditiia fiind ca antigelul la rece sa fie aproape de minim sau la jumatate intre minim si maxim).

 

 

WhatsApp Image 2020-01-07 at 07.27.16.jpeg

WhatsApp Image 2020-01-07 at 11.21.04.jpeg

Modificat de minu94
Link către comentariu
Distribuie pe alte siteuri

Sterge sub vasul de expansiune. Astepti regenerarea facuta in trafic (turatii mici) si cand o termina daca nu ai motorul turat si se aud bolboroseli in bord/zgomote si iti da afara apa din vas ai caloriferul blocat.  Daca de exemplu termini regenerarea si motorul are  peste 2000 rpm nu o sa-ti arunce afara apa cu caloriferul partial blocat.

Daca e blocat bine caloriferul poti verifica dand drumu la temperatura maxima +  ventilatie maxima si sa vezi daca e diferenta mare intre stanga dreapta.

Din poze nu vad daca sacul cu silicati e la locul lui.

Modificat de Alextz
Link către comentariu
Distribuie pe alte siteuri

Ai avut aceeasi problema si ai rezolvat-o cu caloriferul de habitaclu? Asta ma gandeam sa fie urmatorul pas.

Am observat uneori anumite fluctuatii ale caldurii in masina, odata mi-a dat afara antigel dupa o regenerare (in oras). De asemenea, am observat o diferenta de 6-7 grade intre gurile de ventilatie cand am caldura data la maxim si ventilatorul tot la maxim (verificat cu VCDS). 

Bolboroseli in bord aud dupa ce opresc motorul, nu am fost ft atent si in mers daca se aud.

Link către comentariu
Distribuie pe alte siteuri

Nu eu nu am avut problema asta. La mine se pierdea pe la pompa de apa.

Încearcă să schimbi caloriferul dar trebuie sa găsești și motivul pentru care s ar fi blocat. Verifica săculețul cu silicați. 

Link către comentariu
Distribuie pe alte siteuri

O problema asemanatoare cu a ta am avut si eu la un golf 4. La turatii ridicate crestea presiunea in instalatia de racire si arunca lichidul pe la supraplin, iar racordurile de la radiator erau ff tari. Cauza la mine a fost garnitura de chiulasa care era arsa langa un cilindru, fapt care a dus si la o mica fisura in chiulasa care s a remediat prin refacerea planeitatii chiulasei.  Pt a verifica daca si la tine este aceeasi cauza , desfaci busonul la vasul de expansiune, pornesti motorul si vezi daca lichidul  de racire ,, bolboroseste" sau daca are fluctuatiia adica nivelul lichidului creste dupa care scade si tot asa. La mine asa se manifesta.

Link către comentariu
Distribuie pe alte siteuri

  • 1 month later...
razvan.alexandru

Am o problema si eu cu chiulasa / bloc motor / garnitura.

A consumat antigel (cam ~300ml la 100km). Am schimbat garnitura, planat chiulasa, acum consuma ~500ml la 100km. S-a desfacut din nou, verificat chiulasa la presiune (rece + cald), nu are fisuri. Verificat planeitate chiulasa si bloc, e ok, sub 0.05mm (in functie de cum tine mecanicul rigla). Totusi, sunt ceva depuneri cu gust dulce pe busonul de ulei, capac culbutori, admisie turbo (cred? am incercuit in foto mai jos). La remontare s-au folosit prezoanele vechi. Mecanicul spune ca e fisurat blocul.

Mentionez ca nu aveam presiune in vasul de expansiune, antigelul e curat, pe joja e ok uleiul, fum/aburi nu scoate dupa ce se incalzeste (acum fiind iarna). Racitorul EGR s-a verificat la presiune, e ok. Pompa de apa a fost schimbata. Observ ca antigelul scade in special dupa ce se raceste motorul. La cald pare ca a ramas la nivel sau scade f putin, dar asta poate fi si pentru ca ii creste volumul cand e cald?

Presupunand ca antigelul ajunge atat in evacuare cat si in ulei dar presiune in vas nu exista, unde e probabilitatea mai mare sa se intalneasca ele?

IMG_1568.jpg

Link către comentariu
Distribuie pe alte siteuri

Folosirea prezoanelor vechi ...ne spune calitatea lucrarii.

Verifica racitor gaze si racitor ulei . (Astea trebuiau verificate prima data)

Link către comentariu
Distribuie pe alte siteuri

razvan.alexandru

Racitorul de gaze a fost verificat la presiune si nu are fisuri. Pentru a fi sigur i-am facut si bypass dar tot consuma. 

Cel de ulei, mecanicul zice ca ar baga ulei in vas daca ar fi de acolo. Totusi, daca ar fi de la racitorul de ulei, cum ajunge antigel in furtunul de la turbo?

Link către comentariu
Distribuie pe alte siteuri

Arata a gem cu nuca macinatata, delicious. Sper ca s-a rezolvat problema, de abia astept sa aud verdictul. Drumuri bune.

Link către comentariu
Distribuie pe alte siteuri

  • 3 weeks later...
AlexandruGalati

Salutare , @minu94 Si eu astept verdictul sunt tare curios ! Momentan nu sa mai aprins martorul de lipsa apa in vas , nici nu am mai deschis capota de atunci ? Dar e bine ca nu sa aprins ! 

Link către comentariu
Distribuie pe alte siteuri

  • 3 months later...
On 12/27/2016 at 5:16 PM, sergiu2091 said:

Pompele de apa nu cred au nicio regula....nici eu nu pot sa inteleg acest "defect de fabrica"....
La vechea masina (Passat CC 2011 CFFB ) nu am avut nici o problema cu pierderile de antigel pana la schimbul distributiei la 180 000 km, insa la actuala masina ( CC 2013 CFGB cu 123 000 km reali) am avut aceeasi problema ca multi alti posesori de VW si a trebuit sa schimb pompa de apa la 121 000 km, desi distributia trebuie schimbata la 210 000 km.
Pompa de apa, problema cu volant-ul dar si alte probleme "generale" (mecatronic la Audi) ale grupului VAG ma vor face sa ma orientez catre un producator suedez sau japonez la urmatoarea masina :) Noi, cumparatorii, suntem singurii care putem "protesta" pentru regresul calitatii masinilor nemtesti prin reorientarea catre alti producatori.....

Te salut sergiu2091

Am incercat sa ti las acum mesaj privat dar n am reusit. Ma confrunt cu o problema la un CC, izbitoare cu ce povesteai tu. Cum putem la luam legatura ? 

Ti as fi recunoscator daca mi-ai lasa un mesaj pe wapp : 0762747862

Link către comentariu
Distribuie pe alte siteuri

Vișan Vasile

Bună ziua, am un vw passat 2010 cod motor CBAB și pierd apa din vas pe la supapa de presiune,prin oraș se golește cam în 3 zile dar la drum lung se golește mult mai rapid, ce problema credeți ca ar fi. Nu am găsit apa în ulei și nici invers, menționez ca, căldură nu da mai deloc? 

Modificat de Vișan Vasile
Link către comentariu
Distribuie pe alte siteuri

  • 5 months later...
On 09.07.2020 at 11:47, Vișan Vasile a scris:

Bună ziua, am un vw passat 2010 cod motor CBAB și pierd apa din vas pe la supapa de presiune,prin oraș se golește cam în 3 zile dar la drum lung se golește mult mai rapid, ce problema credeți ca ar fi. Nu am găsit apa în ulei și nici invers, menționez ca, căldură nu da mai deloc? 

Aceiasi problema am si eu la un BKD, cum ai rezolvat problema ? Ms 

Link către comentariu
Distribuie pe alte siteuri

Dupa simptome ,la prima vedere pare garnitura de chiulasa ,la BKD ia in calcul si alta chiulasa

Link către comentariu
Distribuie pe alte siteuri

  • 4 months later...

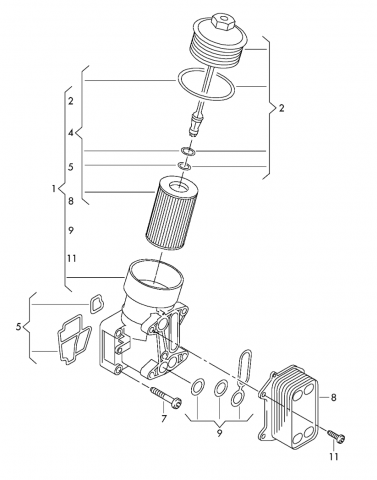
Salutare, pierd antigel pe la garnitura carcasei in care se monteaza filtrul de ulei (nr. 5 din foto).

Eu ma gandeam sa inlocuiesc doar garnitura. Stiti cumva daca sunt probleme frecvente la carcasa de plastic a filtrului de ulei, sa necesite inlocuire sau daca ar mai fi necesar sa schimb si altceva daca umblu acolo?

De la ce producator recomandati setul de garnituri?

649115550.png

Modificat de getodacu
Link către comentariu
Distribuie pe alte siteuri

kosmyn_aurel89

Nu cumperi pana nu demontezi sa vezi daca e carcasa mancata/corodata de antigel. Scoti filtru de ulei , dai drumu la ulei, si il lasi asa. Ca la demontare o sa curga antigel in gaurile de la ulei din bloc si ajunge in baie. Dupa ce pui totul la loc bagi antigel vezi ca nu curge , pui ulei si dai cheie. 

Deobicei carcasa vine cu tot cu termoflot si filtru de ulei si garniturile aferente. Original este Mahle. 

 

Link către comentariu
Distribuie pe alte siteuri

  • 2 weeks later...

@kosmyn_aurel89 Mulțumesc de sfaturi, au fost de mare ajutor. Am desfăcut carcasa și aceasta avea o bucata din ea rupta drept pentru care am înlocuit-o cu una noua, producător Vaico (nu am găsit Mahle).

Carcasa a venit cu tot cu termoflot (racitorul de ulei), garnituri și filtru de ulei+capac filtru ulei, exact ca în poza de mai sus. 

 

IMG_20210518_100345.jpg

IMG_20210511_154808.jpg

Modificat de getodacu
Link către comentariu
Distribuie pe alte siteuri

  • 2 weeks later...
alinariel1981

Bună ziua! Am și eu o problema cu pierdera antigelului la un passat b6 cod motor CBAB.

Când am încercat sa pornesc masina am fost avertizat ca nu am lichid de răcire. Am deschis capota și surpriza, vasul era gol. Erat tot scurs sub masina. Am adăugat lichid, am pornit și am observat ca îmi curge pe partea stanga.

Menționez ca nu am observat sa fie ulei în vas sau sa bolboroseasca. 

Doar când masina e pornita începe sa curgă. Ce părere aveți. Ce ar putea fi.

Link către comentariu
Distribuie pe alte siteuri

kosmyn_aurel89

Un furtun, sau am un senzor sarit din locas, pentru ca a cedat siguranta de plastic. 

Dar pana nu desfaci sa vezi despre ce e vorba sunt doar vorbe...

Link către comentariu
Distribuie pe alte siteuri

  • 2 weeks later...
alinariel1981

Problema s-a rezolvat. Pompa de apa a fost de vina! 

Link către comentariu
Distribuie pe alte siteuri

  • 6 months later...

Salutare tuturor.Am o problema la golf 5,an 2006,motor 2000 și 170 cp.Mi a apărut în bord stop și să verific antigelul.am oprit mașina,vasul era gol dar după ce a a răcit și am scos bușonul,a reapărut antigelul in vas.daca nu pun bușonul antigelul bolborosește,iar daca scot furtunul ce vine in partea de sus a vasului,nu vine nimic.ce ar putea fi?apa in bord sta la 90 ,iar daca mă dau la mașină urca instant la 110.caldura nu baga deloc,doar rece.am pus vcsd pe mașină și am erorile cu cele 3 servomotorase(v71,v158 și v113).vă mulțumesc anticipat pentru răspunsuri.

Link către comentariu
Distribuie pe alte siteuri

Chiulasa fisurata cel mai probabil la motorul asta sau in cazul fericit garnitura de chiulasa ... Ar fi bine sa faci si un test la racitorul de la EGR ca sa fii impacat inainte sa desfaci motorul. 

Link către comentariu
Distribuie pe alte siteuri

  • 1 month later...

Salut,de ceva vreme pierd și eu cam 200-300ml de antigel pe săptămână,am localizat locul unde pierde, pe returul de la schimbătorul de căldură,este un furtun și o flanșă,am schimbat garniturile la flanșă dar tot prelinge, să fie corpul de pe furtun? 

Poza: Screenshot_2022-02-02-20-57-02-346_com_miui.gallery.thumb.jpg.62b539e665e7077d390220c93dbcb3f1.jpg

 

Mulțumesc!

Link către comentariu
Distribuie pe alte siteuri

  • 2 years later...
alexandruuu311296

Bună seara am și eu o problemă am un Passat b6 din anul 2006 140 cp sunt nou pe acest grup am i pierdere de  antigel prin partea dreaptă a mașini pasager pe lângă roata vasul este curat antigelul la fel nu îmi bagă apă în ulei sau invers în mers nu am nici o problemă când opresc motorul după un drum de 150 de km sau mai mult de atât opresc motorul și după o jumătate de oră văd pierderea de antigel pe lângă roata din dreapta pasager vă rog dacă mă puteți sfătui ce ar putea fii

Link către comentariu
Distribuie pe alte siteuri

Pentru a adăuga comentarii este necesară înregistrarea sau autentificarea

Trebuie să aveţi un cont de membru pentru a adăuga comentarii

Înregistrare membru

Înscrierea unui nou cont de membru. Este foarte uşor!

Înregistrare cont nou

Autentificare

Aveţi deja un cont de membru? Conectaţi-vă aici.

Autentificare în cont
 Share

  • Activi pe această pagină   0 membri

    • Niciun utilizator înregistrat nu vizualizează această pagină acum.
×
×
  • Create New...

 Functionarea acestui site este sustinuta de cele cateva bannere afisate intre posturi. Ar fi o placere pentru noi daca ar fi adaugat site-ul nostru in lista de exceptii ad-block in browserul tau. Promitem si veti vedea ca nu avem reclame intruzive si nici deranjante (nimic cu sunet,video sau all-screen). Multumim!