Jump to content

Scuturi Motor / Cutie de viteze etc. (Touareg 7P)


tavitara
 Share

Postare recomandată

In trendul obisnuit s-a mai rupt un plastic

Batranetea asta ...

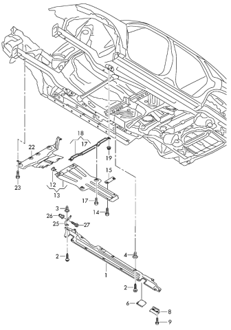
De data asta e vorba de scutul de la cutia de viteze , i-a zburat varful , l-am prins cu un soricel momentan

Merita sa pun after market plastic ?

Ei spun ca e premium .. dar nu am idee ce inseamna = https://www.autodoc24.ro/prasco/12937215

Asta nu e premium , macar nu au scris asa ceva = https://www.autodoc24.ro/dpa/13160783

Aftermarket tabla ? ceva de genul asta : https://emudding.ro/scut-cutie-de-viteza-volkswagen-touareg-2010-2018

Sau sa iau din dezmembrari ? arata cam jalnic in poze ce am vazut

cod 7P6825231C

 

 

Link către comentariu
Distribuie pe alte siteuri

Daca nu mergi pe coclauri ( si am inteles ca nu mergi ) , iei de plastic .

Link către comentariu
Distribuie pe alte siteuri

Da , ma mai gandesc ... nu as lua aftermarket ca se gaseste doar din aia ieftina si am mari dubii ca tine ceva

Ma gandesc ca in 2 ani se face sita de la pietricelele de pe drum

Sa vad ce gasesc , am timp o luna pana fac ITP-ul , sa o schimb atunci

Am observat ca merge si de la 7L si de la Porsche Cay , Audi Q7

Similar OEM Reference:

Volkswagen: 7L0825231AA | 7L0825231AH | 7P6825231C | 7P6825231D | 7L0 825 231 A | 7L0 825 231 AH | 7P6 825 231 C

Porsche: 95550423100 | 95550423101 | 955 504 231 00 | 955 504 231 01 |

Din codurile astea 7L0825231AH se gaseste peste tot aftermarket

 

scut 7P6825231C.jpg

7P6825231C 3.png

scut touareg 7p.png

Modificat de tavitara
Link către comentariu
Distribuie pe alte siteuri

Revin la scutul cutiei de viteze

Oriunde am cautat din dezmembrari sunt sparte

Ce nu erau sparte in poza nu au vrut sa trimita poze relale

Cel care arata perfect in poza " reala " si confirmat impecabil a venit de fapt cu o bucata mare de tot lipsa , deci minciuna

Am renuntat sa mai caut din dezmembrari , pare ca majoriatea sunt niste mincinosi care vor sa scoata bani din orice gunoi

Ultimele doua comenzi , anterior oglinda si acum scutul , ambele imecabile , ambele defecte sau sparte , minciuni

Intrebare - merita sa pun scut metalic ?

Cele de plastic AM imi e teama sa nu fie jucarii care sa crape imediat

Daca da , recomandati sa ii pun ceva material pe interior ?

Al meu original are un fel de material pe interior , probabl fonoabsorbant

 

Modificat de tavitara
Link către comentariu
Distribuie pe alte siteuri

Cauta p'afara. Eu iau multe peiese din DE , PL, LT, NL.

Daca vrei, da mi codul si ti caut eu.

https://allegro.pl/oferta/oslona-silnika-dolna-podloga-porsche-cayenne-7p-touareg-15310822569   

Ar fi ok ala din link?

Modificat de cascadoru
Link către comentariu
Distribuie pe alte siteuri

Multumesc

Am renuntat sa testez si sa primesc aiurea

Pare ce trebuie cea din poza de la polonezi , merge si de la 7L si de la Q7 si de la Porsche

Fiind o componenta de gabarit mare greu de ambalat sa fie transportata fara probleme , nu ma mai complic sa vad daca am noroc sa ajunga intreaga

Am comandat scut metalic , am vorbit si o sa il montez tot la Nurvil

Studiez ce ar trebuie sa aplic pe el interior , ceva rezistent la temperatura si izolant fonic probabil :

https://www.emag.ro/insonorizant-auto-stp-gb-2mm-750x470mm-foaie-0741035023823/pd/DXWKLMMBM/?ref=embedding_similar_model_1_1&provider=rec&recid=rec_88_d1f21556b2077f51a0bd9d98290bb11be7472e666fffdc43e00bb20f052ab11b_1712763444&scenario_ID=88

Modificat de tavitara
Link către comentariu
Distribuie pe alte siteuri

A venit scutul , solid , greu

Intrebarea este daca necesita sa ii lipesc ceva material fonoabsorbant pe interior - cel de plastic original avea un fel de pasla si ma gandesc la faptul ca exista un motiv pentru care avea asa ceva

4.jpg

3.jpg

2.jpg

1.jpg

Link către comentariu
Distribuie pe alte siteuri

Le infoliezi.

în urmă cu 3 ore, tavitara a scris:

A venit scutul , solid , greu

I

4.jpg

3.jpg

2.jpg

O sa-ti creasca consumul :)

Link către comentariu
Distribuie pe alte siteuri

Asta e , mai bine consumul decat burta , 5 kg in plus la cat cantareste toata masina e irelevant , nu are dimensiuni prea mari

Mai naspa ptr mecanic , acum trebuie sa dea tot scutul jos la revizie , nu sa il lase prins intr-o parte doar sa atarne si sa se taie ca apoi sa mi se rupa pe drum

Link către comentariu
Distribuie pe alte siteuri

  • 2 weeks later...

De maine adio consum minim , adaug probabil 25 kg - scut motor + scut cutie - foarte grele impreuna , tabla extrem de groasa

Probabil mai creste cu minim 0.2 % consumul general

Nu se pot monta unul fara altul asa ca am comandat si scut motor , de la acelasi furnizor

https://www.emag.ro/scut-motor-vw-touareg-2010-2018-27-188/pd/D64BZ6MBM/?ref=history-shopping_360452085_7163_1

Duminica drum dus intors Rm Valcea - Sibiu , 6.0 pana la Boita , in general mers in coloana rasfirata destul de lejer , autostrada putina

Rescanare azi , nu au mai aparut erori inca

scut cutie.jpg

scut motor.jpg

6.5.jpg

Link către comentariu
Distribuie pe alte siteuri

Bravo, foarte util in tara noastră!

Link către comentariu
Distribuie pe alte siteuri

Eu am adaugat 10 kg de metal din prima luna  la O3FL, asa ca mi se pare echitabil la Touareg sa fie 25 de kg, pentru ca poate  sa care mai mult. 😀

 

Eu mi-am pus problema zgomotului mai mare dupa montarea scutului, dar nu e cazul.

Modificat de halamadrid
Link către comentariu
Distribuie pe alte siteuri

Arată foarte bine, poate pe drumuri n-are rost dar dacă-l mai scoți de pe asfalt clar va ajuta.

 

Trebuie să mă uit sub mașină să văd cum arată scuturile, din câte am citit cel cu 4xmotion ar avea scuturi la motor și cutie de fabrică, dar n-am verificat niciodată ce și cum.

 

 

Link către comentariu
Distribuie pe alte siteuri

Doar la motor e metalic. Are un prieten 4xmotion si m-am uitat dedesubt.

Link către comentariu
Distribuie pe alte siteuri

Mersi de informație, la cât văd ar costa acele scuturi pare că merită. Nu prea fac offroad cu ea (deloc de fapt), nu știu cât m-ar ajuta.

Link către comentariu
Distribuie pe alte siteuri

Cam asa arata montate scuturile

Evident ca nu putea sa fie totul ok

Saibele dreptunghiulare care trebuiau sa fixeze suportul scutului de jog erau mult prea mici , lungime sub diametrul gaurilor din jug

Ok , scuze zice vanzatorul , va trimit maine pe cele corecte

Asta cu masina sus in service

Baietii de la Nurvil Toyota foarte ok , au improvizat , platbanda , taiat , gaurit , sudat - rezolvat

Am schimbat si rotile fata spate dupa 12k daca tot era masina ridicata

Placutele de frana fata / spate la limita uzurii 1 / 2mm , au spus ca in 1000-2000 km sa ma astept sa cante senzorii

49k de la schimbare placute + discuri OE , nu voi mai pune OE acum , o sa studiez pe forum care AM sunt mai ok ptr masina asta

Discurile arata foarte bine , ca noi

Ceva bucata de pasla jupuita sub masina , probabil de cand au schimbat distributia , acum am observat , nu prea imi place sa stau sub masina , nu ma simt confortabil

sku 1.jpg

skut 2.jpg

sub 1.jpg

sub 2.jpg

saiba mica.jpg

pasla 1.jpg

disc.jpg

frana 1.jpg

Link către comentariu
Distribuie pe alte siteuri

arata ok scuturile... desi... chiar folosesti masina offroad? 

 

Link către comentariu
Distribuie pe alte siteuri

Publicat (modificat)

Nu , absolut deloc , doar cand mai merg la pescuit dar nu se poate numi off-road

Dupa 2 incercari esuate de a cumpara scut original din dezmembrari am renuntat la idee

Cel AM am inteles ca este firav

Asa ca asta a fost solutia

Modificat de tavitara
Link către comentariu
Distribuie pe alte siteuri

Nu simt zgomot suplimentar si nu percep consum mai mare

Probabil la cat cantareste masina  , cu sau fara ele , tot aia e

Sau merg eu mai cuminte perioada asta , pana trec 6 luni de cand am primit anticipat cadou de Paste cateva puncte

Totusi nu reusesc sa descifrez un zgomot pe care il percep in parcare , de cand am facut revizia

Mai ales cand dau cu spatele foarte foarte lent si volanul e virat la maxim , uneori si cu fata dar tot virat maxim volanul - un zgomot de parca anvelopele fata ar calca pe coji de nuca si le sparge

In rest nu se aude absolut nimic , daca nu merg extrem de lent nu se aude nimic

Link către comentariu
Distribuie pe alte siteuri

probabil o flansa incepe sa caraie

Link către comentariu
Distribuie pe alte siteuri

Flansa amortizor ?

Chestia aia din partea superioara a amortizorului ?

Ridicata sus si invartind rotile cu mana nu se aude nimic , posibil sa fie o flansa

Link către comentariu
Distribuie pe alte siteuri

  • 2 months later...

Salut,ce pret ar fi avut pe original scutul cutie si daca acea pasla vine separat de scut...?multumesc.

Link către comentariu
Distribuie pe alte siteuri

Din ce tin minte era 1000 lei aprox scut cutie OE dar nu stiu daca avea si pasla atasata

Oricum mi-am dat de lucru , acum la fiecare revizie trebuie demontat scutul metalic

Link către comentariu
Distribuie pe alte siteuri

Pentru a adăuga comentarii este necesară înregistrarea sau autentificarea

Trebuie să aveţi un cont de membru pentru a adăuga comentarii

Înregistrare membru

Înscrierea unui nou cont de membru. Este foarte uşor!

Înregistrare cont nou

Autentificare

Aveţi deja un cont de membru? Conectaţi-vă aici.

Autentificare în cont
 Share

  • Activi pe această pagină   0 membri

    • Niciun utilizator înregistrat nu vizualizează această pagină acum.
×
×
  • Create New...

 Functionarea acestui site este sustinuta de cele cateva bannere afisate intre posturi. Ar fi o placere pentru noi daca ar fi adaugat site-ul nostru in lista de exceptii ad-block in browserul tau. Promitem si veti vedea ca nu avem reclame intruzive si nici deranjante (nimic cu sunet,video sau all-screen). Multumim!