Jump to content

Coduri piese - Part numbers Golf IV&Bora


rudolf.s
 Share

Postare recomandată

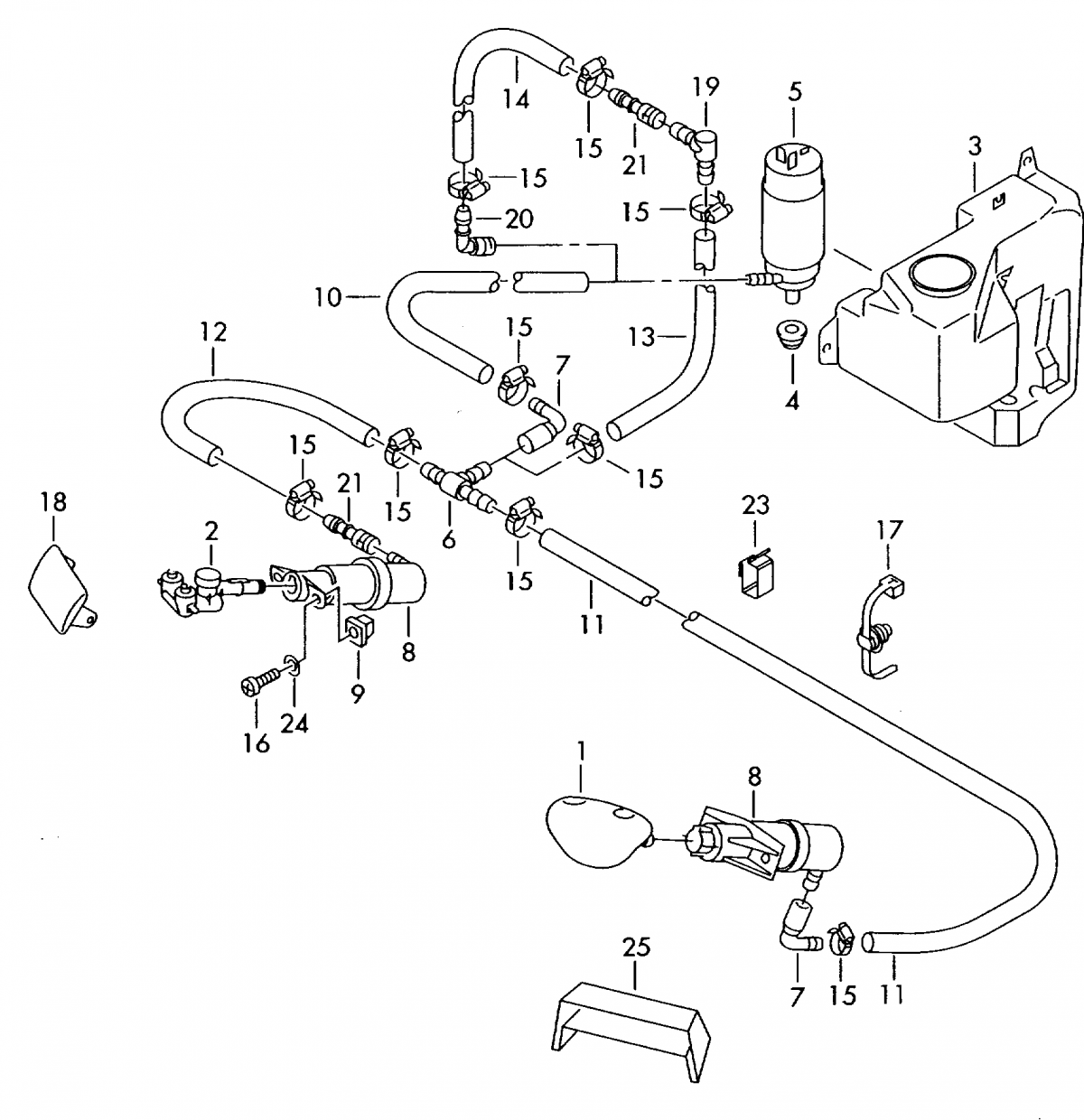
imi curge ulei p la piesa din mijloc, cea dintre coliere..nu am reusit sa ii citesc codul..post-78116-0-62827600-1332341226_thumb.j

Modificat de MarincaS
Link către comentariu
Distribuie pe alte siteuri

@onlyvidiu,imi trebuie seria de caroserie.

@Marinica 038103493AB

Link către comentariu
Distribuie pe alte siteuri

mersi mult..furtun filtru epurator este acela sa inteleg...tre sa il comand doar p el sau si niste garnituri ceva? m-ar mai interesa te rog si garnitura aceea de cauciuc de sub buson de umplere..am cumparat alt buson crezand ca vine cu tot cu ea da nu vine..se vede si ea in poza..mersi mult

Link către comentariu
Distribuie pe alte siteuri

Mai intai curata bine locul,vezi care e locul exact pe unde pierzi ulei.

post-64586-0-05543800-1332351452_thumb.j

Link către comentariu
Distribuie pe alte siteuri

@onlyvidiu,imi trebuie seria de caroserie.

WVWZZZ1JZYP170328

Multumesc!

Link către comentariu
Distribuie pe alte siteuri

da..acum vad..eu cred k as avea nevoie d 35..e ca un cauciuc asa sub buson nu? ca un burduf sa zic asa..

Link către comentariu
Distribuie pe alte siteuri

Da exact asa este.

@onlyvidiu, 1J0 498 201 E burduf planetara cu elem.de montaj si vaselina interior.

Parte montare: spre cutia de viteze

Înaltime: 98 mm, Diametru interior 1: 24 mm, Diametru interior 2: 57 mm, Material: cauciuc.

SPIDAN 23176,EKG 923176,

post-64586-0-41807500-1332355962_thumb.j

Link către comentariu
Distribuie pe alte siteuri

Da exact asa este.

@onlyvidiu, 1J0 498 201 E burduf planetara cu elem.de montaj si vaselina interior.

Parte montare: spre cutia de viteze

Înaltime: 98 mm, Diametru interior 1: 24 mm, Diametru interior 2: 57 mm, Material: cauciuc.

SPIDAN 23176,EKG 923176,

:) ce sa zic... Multumesc mult!

Link către comentariu
Distribuie pe alte siteuri

Salut,

azi mi sa furat capacul de la spalatorul de faruri cu cilindru cu tot pe partea dreapta,ce cod au?(WVWZZZ1JZ2W127171)

Multumesc!

Modificat de rcs66
Link către comentariu
Distribuie pe alte siteuri

1J0 955 110 A 007 grunduit Capac dreapta

1J0 955 978 B cilindru ridicator

1J0 955 104 A duza spalator dreapta.

Link către comentariu
Distribuie pe alte siteuri

usor Offtopic: si mie mi l-a furat de 2 ori in 3 luni. Chiar nu inteleg ce fac cu ele...

Link către comentariu
Distribuie pe alte siteuri

La cate G4/BORA...sunt care se lovesc in fata ..E mai usor de completat de la altii :lol:

Link către comentariu
Distribuie pe alte siteuri

cilindrul nu vine cu duza impreuna,trebuie comandate ambele?

Link către comentariu
Distribuie pe alte siteuri

Buna ziua !

Ma intereseaza un cod compresor AC (climatronic ) , pentru :

VW GOLF IV Variant (05.1999-) 1.9 TDI (74 / 101; 1896; ATD (PD), AXR (PD))WVWZZZ1JZ2W173949 Tip auto : VW GOLF IV Variant, 1.9 TDIAn fabricatie : 2002 Tip caroserie : CombiNr. identificare : WVWZZZ1JZ2W173949Observatii : +AC, +ABS, +SD, -CA, -4X4, 5 USI Cilindree ( cmc ) : 1896Putere max. ( kw ) : 74 / 101Tip motor : AXRSerie motor : -Altele : INCALZIRE SCAUNE,XENON,INCIDERE CENTRALIZATA 4 USI,DVD-AUTO,jante MAGNEZIU,ESP,

Multumesc !

Link către comentariu
Distribuie pe alte siteuri

Ai uitat sa specifici culoarea.. :lol: .1J0 820 803 L pentru producator ZEXEL

Link către comentariu
Distribuie pe alte siteuri

salutare, se gasesc garnituri separat pentru stopuri? e vorba de vw bora. daca da se poate un cod?

Link către comentariu
Distribuie pe alte siteuri

Pt sedan 1J5945191(maxim 45 lei,pt combi 1J9945191(maxim 45 lei).

Link către comentariu
Distribuie pe alte siteuri

merci mult. pt sedan ma interesa.

Link către comentariu
Distribuie pe alte siteuri

Salut,

Pentru un Golf 4 1.4 16V telescop capota un cod pentru el si un pret daca se poate?

Mersi

Link către comentariu
Distribuie pe alte siteuri

8L0823359(aproape 40 euro),MAGNETI MARELLI GS0260(60 lei)

Link către comentariu
Distribuie pe alte siteuri

Imi poate spune cineva daca pot sa leg la o VW Bora 2003/11 BFQ ... un radio/cd original de la un VW GOLF V ? Loc este..dar..?

Link către comentariu
Distribuie pe alte siteuri

Salut un pret pentru vacuum unit la golf4 1.6 fsi motor bad?

Daca nu gresesc asta e codul pentru vacuum unit 036129061a

Link către comentariu
Distribuie pe alte siteuri

Aproape 100 euro pe original,pe af nu il produce nimeni.

Link către comentariu
Distribuie pe alte siteuri

post-7919-0-87847000-1334144148_thumb.pnun cod pt clema de plastic care vine pe aripa fata golf 4 in care se agata bara fata st+dr cred ca 1 este Modificat de hanu
Link către comentariu
Distribuie pe alte siteuri

  • Aerofan pinned this topic

Pentru a adăuga comentarii este necesară înregistrarea sau autentificarea

Trebuie să aveţi un cont de membru pentru a adăuga comentarii

Înregistrare membru

Înscrierea unui nou cont de membru. Este foarte uşor!

Înregistrare cont nou

Autentificare

Aveţi deja un cont de membru? Conectaţi-vă aici.

Autentificare în cont
 Share

  • Activi pe această pagină   0 membri

    • Niciun utilizator înregistrat nu vizualizează această pagină acum.
×
×
  • Create New...

 Functionarea acestui site este sustinuta de cele cateva bannere afisate intre posturi. Ar fi o placere pentru noi daca ar fi adaugat site-ul nostru in lista de exceptii ad-block in browserul tau. Promitem si veti vedea ca nu avem reclame intruzive si nici deranjante (nimic cu sunet,video sau all-screen). Multumim!